'); })();
您好,欢迎来南方娱乐网-有趣有料雅俗共赏!

丝芭仍持有鞠婧祎姓名商标 当前状态均为已注册

2025-12-17 11:41:51 来源:南方娱乐网

文章摘要

据报道,12月16日,鞠婧祎工作室联合律师连续发布声明,明确指控前经纪公司丝芭传媒伪造合约、恶意诉讼,并强调双方经纪合约已于2024年6月15日依法解除。天眼查知识产权信息显示,

 

 据报道,12月16日,鞠婧祎工作室联合律师连续发布声明,明确指控前经纪公司丝芭传媒伪造合约、恶意诉讼,并强调双方经纪合约已于2024年6月15日依法解除。

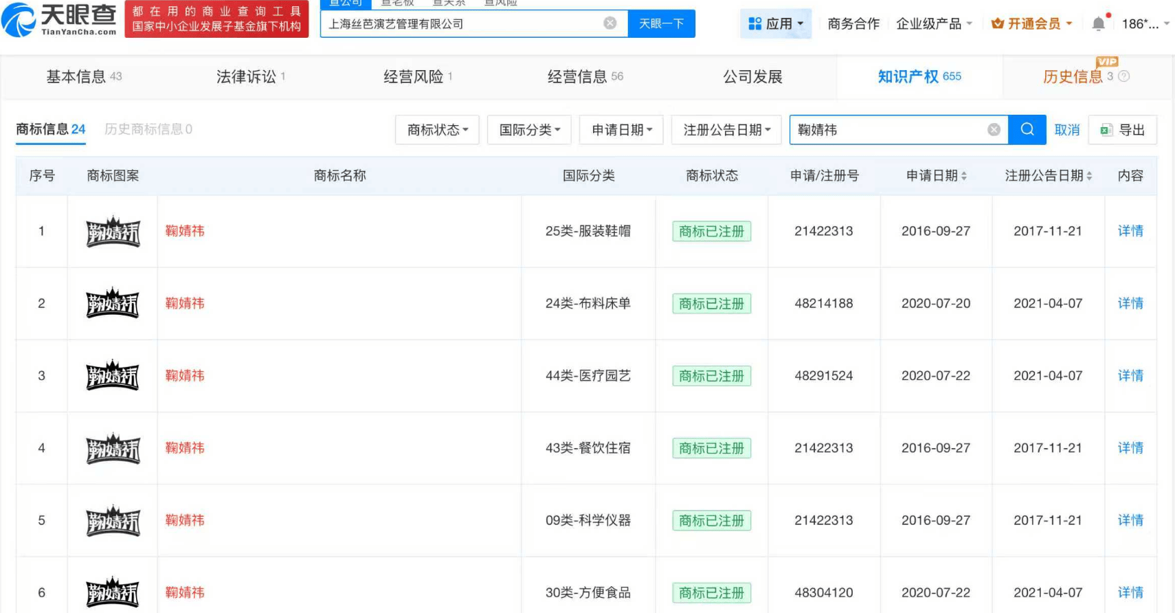
天眼查知识产权信息显示,上海丝芭演艺管理有限公司已注册多枚“鞠婧祎”商标,国际分类涉及服装鞋帽、布料床单等,当前商标状态均为已注册。

(责任编辑:吴丰丰)
关键词:
分享到:

娱乐聚焦
  • 明星
  • 电影
  • 电视
  • 综艺
  • 音乐
明星八卦